1969年世界大事
1969年世界大事

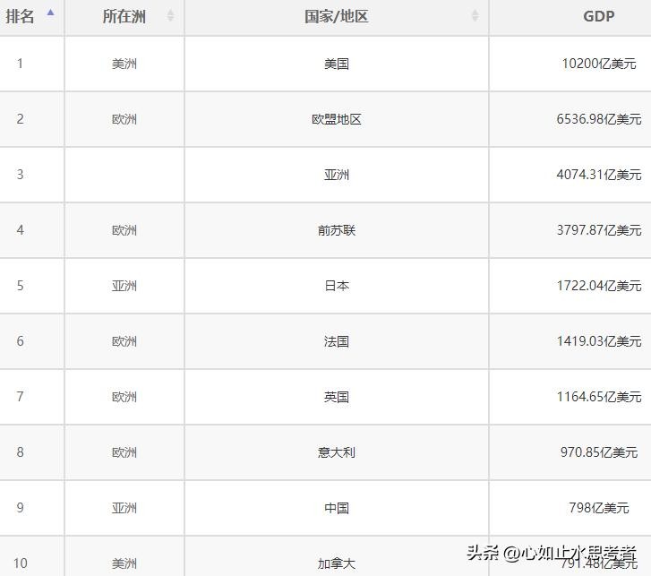
1969年美国GDP(国内生产总值)为10200亿美元,在全球国家中排第一名。
1969年欧盟地区GDP为6536.98亿美元,在全球国家中排第二名。
1969年亚洲GDP为4074.31亿美元,在全球国家中排第三名。
1969年前苏联GDP为3797.87亿美元,在全球国家中排第四名。
1969年日本GDP为1722.04亿美元,在全球国家中排第五名。

注:1969年中国与日本的GDP差距越来越大,达两倍之多,如果按照这个剧本走,GDP方面中国永远赶不上日本。实际上事物的发展永远不是线性的,而是曲折向前发展的。2010年中国经济总量超过日本。古话说:三十年河东,三十年河西。从现在看过去好看,从过去看将来就会很迷茫,充满恐惧。
国内
1月1日——《人民日报》、《红旗》杂志、《解放军报》发表元旦社论:《用毛泽东思想统帅一切》,传达了毛泽东关于“清理阶级队伍,一是要抓紧,二是要注意政策”的指示。
1月5日——中国自行设计、制造、安装的具有60年代世界先进水平的大型氮肥厂——河北化肥厂三期工程胜利完成。它标志着我国氮肥工业达到了新水平,使我国尿素生产技术跃入了世界先进行列。
2月21日——中华人民共和国截止到1968年底,国内公债已全部还清,成为世界上没有内债、又没有外债的国家。
北京大学承接研制百万次集成电路数字电子计算机——150机。
3月2日——中华人民共和国和苏联在珍宝岛发生武装冲突。
5月5日——中国研制成具有独特疗效的抗菌素——“庆大霉素”。
7月8日——中国河南红旗渠建成。
9月23日——中国首次进行地下核试验成功。
9月29日——中国又成功地进行一次新的氢弹爆炸。
10月1日——我国第一条地下铁路通车(北京火车站至石景山区苹果园),全长23.6公里。
10月7日——中国第一套全自动长途电话设备诞生。
11月12日——中国前国家主席刘少奇同志含冤去世。
11月14日——中国加速建设攀枝花钢铁基地。
国际
1969年通过的英国《人民代表选举法》规定,凡年满18岁的公民,依法均享有选举权。
1月4日——消除种族歧视公约生效。
1月20日——理查德·米尔豪斯·尼克松就职美国总统。
1月25日——美国被迫同越南南北三方就结束越南战争问题在巴黎举行正式会谈。
2月——解放巴勒斯坦民主人民阵线(民阵)成立。
2月9日——波音747的原型机首次试飞。
5月13日——马来西亚发生被官方称为“种族冲突”的排华暴乱。
7月20日——美国宇航员尼尔·奥尔登·阿姆斯特朗和巴兹·奥尔德林乘坐“阿波罗11号”登陆月球。

11月21日——世界上第一个阿帕网(ARPANET)连接建立。美日达成协议,琉球将在1972年归还日本。
注:1969年庆大霉素的研制成功挽救了很多人的生命,氢弹的爆炸确保了中国的国际地位与和平环境。阿帕网的连接20多年后影响整个世界,改变人们的生活方式,在当时只是一个小的事情,连事件都不是。作为投资者,应该投哪家互联网公司,在当时来看应该是个很混沌很、很烧脑的事情,也许是一个不值得一提的事情。消除种族歧视到今天还是梦想。新技术改变人很容易,改变人的思想与思维模式很难。
-
- 自信的力量:坚信自我,照亮他人
-
2025-07-30 20:32:12
-
- 四年撩妹从未失手,总结的28条追女孩经验
-
2025-07-30 20:29:56
-
- 书海奇缘,妙想绽彩!百仕达小学举行第九届图书馆嘉年华
-
2025-07-30 07:52:44
-
- 从古代的“滑国”,看懂“匈奴”历史全程
-
2025-07-30 07:50:28
-
- 29年前,北京开出租小伙,娶小6岁的德国女明星,如今过得怎样?
-
2025-07-30 07:48:12
-
- 联想事件之后的“联想”
-
2025-07-30 07:45:56
-
- 从超黄蜂到直-8宽,子孙满堂的直-8系列直升机(一)
-
2025-07-30 07:43:40
-
- 以案释法:期待可能性的法律分析
-
2025-07-30 07:41:25
-
- 人类也在其中,全新证据:第六次生物大灭绝加速!生命树加速消亡
-
2025-07-30 07:39:09
-
- 1986年中国钢笔书法大赛获奖作品荟萃一等奖作品
-
2025-07-30 07:36:54
-
- “最美理工女”摩洛哥王妃,国王因她取消一夫多妻制,却失踪两年
-
2025-07-30 07:34:37
-
- 全网最完整阿迪达斯鞋系科普(3)
-
2025-07-30 07:32:22
-
- 这4种K线是主力拉升前的最后洗盘,一旦出现,果断满仓进驻,后期涨势不可估量
-
2025-07-30 07:30:06
-
- 变形金刚系列集合贴这里有你超多的儿时回忆
-
2025-07-30 07:27:50
-
- 2109未来人真实存在?最可信未来人穿越两个时空,留下了什么警告
-
2025-07-30 07:25:35
-
- 千古名都西安也太美了!这才是西安绝对不能错过的十个地方,收好
-
2025-07-30 07:23:19
-
- 豆瓣9.1分,《特殊失踪专案组M》全解析
-
2025-07-30 07:21:03
-
- 一问一答弄明白北京国子监
-
2025-07-30 07:18:47
-
- 为什么头部企业都用星恒?为什么是星恒引领“锂电化”浪潮
-
2025-07-30 07:16:31
-
- 兰州理工大学的前生今世
-
2025-07-30 07:14:16



前妻终于说出离婚的真相(跟前妻离婚后兄弟说出了真相)
名模潘娇娇的那些喷血写真 潘娇娇简介
杨幂1分11秒视频被疯狂转发 女主角到底是谁
刘师长在老山喊出“战士在前方流的是血,不是水”后,提拔被取消
中学生情侣在光天化日之下偷吃禁果,视频曝光引发网友强烈谴责
199·99的含义 991的爱情意思
四川省非常穷的20个县,有你的家乡吗?
实拍:非洲版的“大阴人”嫪毐,长度达到惊人的1.2米!
强推⑧本男主是蛇的小说‼️
汉字解读:“睢”和“雎”到底哪里不同?别再混淆了